Baterie Ferro VASTO MEDICO (lavoar)
1 800.00 RON
(TVA inclus)
Livrare Gratuită
Disponibilă pentru comenzile peste 500 RON pentru Bucuresti.
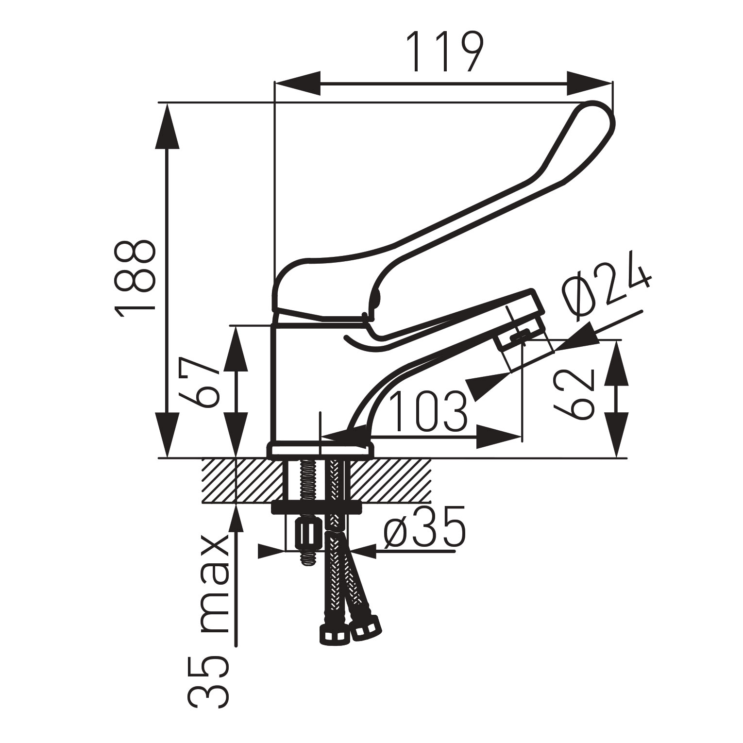
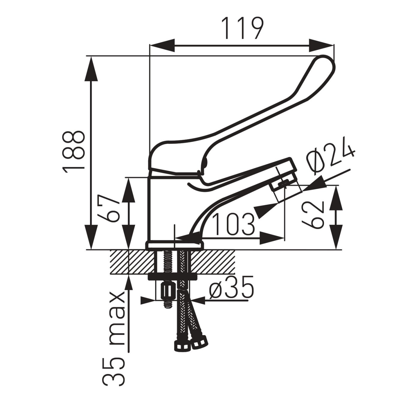
Bateria de lavoar din colecția Vasto Medico este special concepută pentru mediile care necesită standarde ridicate de igienă, precum instituțiile medicale, laboratoarele sau spațiile publice. Caracteristica principală a acestui model este mânerul de tip „clinic” sau „chirurgical” cu pârghie lungă, care permite acționarea facilă cu ajutorul cotului, prevenind astfel contaminarea încrucișată și transferul bacteriilor. Construcția solidă din alamă cu finisaj cromat asigură o rezistență superioară la dezinfectanți și o durabilitate extinsă în condiții de utilizare intensivă.
Avantaje cheie:
- mâner special ergonomic ce permite acționarea cu cotul pentru o igienă maximă
- cartuș ceramic de 40 мм care garantează un control fin și o rezistență sporită
- ventil metalic cu tija G 5/4 inclus în set pentru un sistem complet de evacuare
- aerator M24x1 care asigură un jet de apă uniform și reduce consumul de apă
Compatibilitate și condiții de montare: proiectată pentru montaj stativ pe lavoar; setul include racorduri flexibile G 3/8 - M10x1 și accesorii de fixare. Recomandări de îngrijire și siguranță: curățați suprafața cu produse specifice neabrazive; în mediile medicale se pot utiliza dezinfectanți compatibili cu suprafețele cromate; verificați periodic integritatea aeratorului pentru a asigura o dispersie corectă a jetului.
Setul de scurgere este inclus în set, fiind perfect compatibil cu acest model. Nu este necesară achiziția unui ventil suplimentar.
Material obiecte sanitare
Alamă sanitară
Înălțimea bateriei
188
Proiecție pipă
103
Finisaj produs
Crom
Debit (l/min - bar)
12 l/min la 3 bar
Tip de cartuş
Cartuș ceramic
Tip conexiune
Racorduri flexibile incluse 3/8″
Garanție producător
5
Tip montare baterie
Pe lavoar
Set de scurgere
Cu ventil
Nu există recenzii pentru acest produs încă.